СТО ЦКТИ 720.12-2009
Тройники переходные штампованные для трубопроводов пара и горячей воды тепловых станций
СТО ЦКТИ 720.12-2009
Тройники переходные штампованные для трубопроводов пара и горячей воды тепловых станций
Взамен ОСТ 108.104.16-82
Область примененияНастоящий стандарт распространяется на переходные штампованные тройники с вытянутой горловиной, изготавливаемые из труб стали марок 20 и 15ГС по ТУ 14-3Р-55 или ТУ 1310-030-00212179 и 15ГС по ТУ 1310-030-00212179, для трубопроводов пара и горячей воды тепловых станций I, II и III категорий (по классификации «Правил устройства и безопасной эксплуатации трубопроводов пара и горячей воды») с абсолютным давлением и температурой среды:
|
р = 23,54 МПа, t = 250 °С |
|
Категория I.4 |
|
р = 18,14 МПа, t = 215 °C |
||
|
р = 4,31 МПа, t = 340 °С |
|
Категория II.2 |
|
р = 3,92 МПа, t = 200 °С |
|
Категория III.2 |
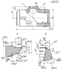
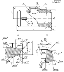
Конструкция и размеры
1 Конструкция, размеры и материал тройников должны соответствовать указанным на рисунке 1 и в таблице 1.
2 Допускается изготовление тройников с разделкой под сварку по типу С4 и С5 в соответствии с СТО ЦКТИ 10.003.
Технические требования1 Размеры высот Н и h, радиусов R и R1 и толщины стенки ski могут быть по усмотрению предприятия-изготовителя изменены при соблюдении условий прочности.
2 Исполнение 14 разрешается изготавливать из поковки Ø 750×60 мм сталей марок 15ГС, 16ГС по ОСТ 108.030.113, гр. II Т. Предельные отклонения наружного диаметра Da2 не должны превышать ±2 %.
3 Масса тройников, указанная в таблице 1, - расчетная, приведена для справки.
4 Остальные технические требования - по СТО ЦКТИ 10.003.
5 Пример условного обозначения тройника штампованного переходного исполнения 07 с условными проходами Dy 175 и Dу1 150:
ТРОЙНИК ПЕРЕХОДНЫЙ 175×150 07 СТО ЦКТИ 720.12
Чтобы приобрести понравившийся товар, необходимо его заказать. Есть несколько сценариев того, как это можно сделать.
- Выбрать понравившийся товар и нажать кнопку «Заказать». При оформлении заказа заполнить форму. Вписать информацию в поля: ФИО, телефон и e-mail. Затем вам перезвонит менеджер, чтобы подтвердить ваше согласие на совершение покупки.
- Выбрать понравившийся товар и нажать кнопку «В корзину». Затем перейти в корзину и нажать «Оформить заказ». Далее заполнить форму с контактными данными и отправить заявку. С вами свяжется менеджер для дальнейшего обсуждения.
- Перейти в карточку товара и нажать «Купить в один клик». После нажатия нужно заполнить форму и отправить заявку. С вами свяжется менеджер для дальнейшего обсуждения.
Мы работаем с физическими и юридическими лицами. И предоставляем сразу два варианта оплаты.
- Наличные. Вы подписываете товаросопроводительные документы, расплачиваетесь денежными средствами, получаете товар и чек.
- Безналичный расчет. Принимаем карты Visa и MasterCard. Доступен при курьерской доставке.
Ваш заказ можем доставить собственными ресурсами, при условии вашего нахождения в городе. Либо через 4 варианта доставки:
- Курьерская доставка. Курьерская доставка работает с 9:00 до 19:00. Когда товар поступит на склад, курьерская служба свяжется для уточнения деталей. Специалист предложит выбрать удобное время доставки и уточнит адрес.
- Самовывоз из магазина. Для получения заказа обратитесь к сотруднику в кассовой зоне и назовите номер.
- Сотрудничаем с постаматами. Срок хранения — 3 дня.
- Предоставляем почтовую доставку через почту России. Когда заказ придет в отделение, на ваш адрес придет извещение о посылке. Вскрывать коробку самостоятельно вы можете только после оплаты заказа.
Дополнительная вкладка для размещения информации о товарах, доставке или любого другого важного контента. Поможет вам ответить на интересующие покупателя вопросы и развеять его сомнения в покупке. Используйте её по своему усмотрению.
Вы можете убрать её или вернуть обратно, изменив одну галочку в настройках компонента. Очень удобно.
